
FZW28-12(FFK)戶外分界真空負荷開關適應于額定電壓為12kV、額定頻率50Hz的戶外三相交流配電系統中,作為開、合負荷電流和關合短路電流之用。
FZW28-12(FFK)戶外分界真空負荷開關適用于變電站、工礦企業及城、農網作保護和控制和城、農網自動化配電網絡以及頻繁操作的場所。
FZW28-12(FFK)戶外分界真空負荷開關用于架空線路配電系統用的操作控制開關,有多種型式具有無油、機構簡單、性能可靠無需維護等突出優點,至今已被廣泛使用。該產品與FDR型故障檢測器或RTU遙控終端裝置等設備相結合,構成結構十分簡單的配電自動化系統,它可以實現架空線路故障的自動定位和故障段的自動隔離。為了更新我國現有的配電開關設備,使之實現無油化和自動化為特征的配電設備改造的需要。
功能特點
自動閉鎖相間短路故障:用戶支線發生相同短路故障時,分界開關在變電站斷路器或重合器保護跳閘后立即分閘并閉鎖,變電站重合后,饋線上的其它分支用戶迅速恢復供電;
快速定位故障點:用戶支線事故造成分界開關保護動作后,責任用戶停電,由其主動報送事故信息,電力公司派員現場可通過掌上電腦或通訊模塊排查事故原因;
自動切除單相接地故障:用戶支線發生單相接地故障時,分界開關自動分閘;變電站及饋線上的其他分支用戶有感受不到故障的發生。
此開關可實現以下功能:速斷保護、過流保護、三次重合閘、事件記錄、防涌流保護、零序保護、實時時鐘、重合閘后加速、實時狀態查詢、智能掌上電腦控制、本地/遠程設置定值、故障主動上報、GSM短消息功能。
主要技術參數
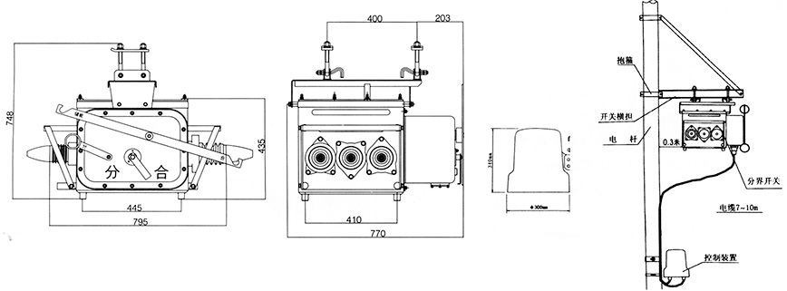
外形及安裝尺寸圖
使用環境
1.溫度:-250C-+70℃;
2.海拔高度:2000m;
3.風速≤35米/秒,相對濕度≤95%;
4.抗震烈度:地震列度8度;
5.地面水平加速度1/4g,地面垂直加速度1/8g,安全系數1.7;
6.污穢等級:Ⅲ級,
7.最大覆冰厚度:10mm
8.系統中性點接地方式:中性點不接地/消弧線圈接地/小電阻接地系統。